网站首页 | 关于我们 | 联系我们
咨询电话:13516221810
山高新材料科技(天津)有限公司
电话:13516221810
邮箱:eric.li@hilltopnmt.com
地址:中国.天津.西青区张家窝镇吉庆道津尚花园17-1-1503
网址:www.hilltopnmt.com
公司致力于高新材料科技创新开发,将耐火材料向环境友好型,轻质化,智能化发展。与多家知名耐材企业联合合作,对终端客户提供高质量绿色环保耐火材料产品。与此同时,跨学科交叉探索发展,掌握气体动力学精确控制技术,提供节能环保型微孔结构的耐火制品。
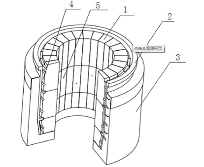
浸渍管
浸渍管结构
返回上一页
办公地址:中国.天津.西青区张家窝镇吉庆道津尚花园17-1-1503 全国服务热线:13516221810
山高新材料科技(天津)有限公司 津ICP备19006270号-1